从中国专利侵权判定规则的精细化演变看高质量撰写

2026-04-24

  文/北京市集佳律师事务所 戈晓美

 

  一、 引言:专利是资产还是负债?

  相信很多人都会脱口而出:专利是无形资产。然而实践中,有多少企业的专利真正发挥了资产的价值?多数情况下,企业为获得专利权支付了专利申请费、代理费,为维持专利权有效逐年缴纳年费,但那一纸证书却从未被实际使用。对这类企业而言,专利权非但不是资产,反而成为一项持续消耗资源的负债。

  专利究竟是资产还是负债,取决于其能否在商业竞争中构筑有效的排他壁垒。专利的核心价值,在于法律赋予的排他权——即禁止他人未经许可实施其技术的权利。实践中,排他权的价值实现路径呈现多元化:权利人可通过自行实施形成技术垄断,亦可借助许可使用实现权利变现,或通过权利转让一次性兑现价值,还可以作价入股分享收益、质押融资获取资金,乃至组建专利池以强化竞争壁垒。

  无论采取何种方式,其根本均在于专利能否在侵权诉讼中成功禁止他人未经许可的实施行为。因此,诉讼被视为检验专利排他权的试金石。一项专利唯有同时经受无效宣告程序与侵权诉讼程序的双重检验,方能真正彰显其法律价值与商业意义。在这一过程中,确保专利撰写质量与技术创新高度契合,是从源头上提升权利稳定性、保障排他权有效行使的关键策略。

  基于此,本文将以一名专利诉讼律师的视角,从我国专利侵权判定规则的精细化演进出发,探讨其对高质量专利撰写的启示与心得。

 

  二、中国专利司法保护概况【1】

  (一)案件基本情况

  最高人民法院知识产权法庭通过集中管辖全国范围内技术类知识产权上诉案件,有效统一了技术类案件的裁判标准。

  1.案件基本数据

  七年来,最高人民法院知识产权法庭共受理技术类知识产权和垄断案件24,602件,审结23,069件。

  2. 民事案件分类数据

  法庭共受理民事二审实体案件13,918件。其中,侵害发明、实用新型专利权纠纷7,860件,专利申请权及专利权权属纠纷1,194件,植物新品种权纠纷842件,集成电路布图设计纠纷20件,技术秘密纠纷355件,计算机软件纠纷2,711件,技术类知识产权合同纠纷357件,垄断民事纠纷178件,其他纠纷401件。

  3. 行政案件分类数据

  法庭共受理行政二审实体案件7,023件。其中,发明专利申请驳回复审行政纠纷1,767件,发明专利权无效行政纠纷1,931件,实用新型专利申请驳回复审行政纠纷183件,实用新型专利权无效行政纠纷1,746件,外观设计专利申请驳回复审行政纠纷14件,外观设计专利权无效行政纠纷828件,植物新品种权行政纠纷14件,集成电路布图设计行政纠纷4件,垄断行政纠纷81件,行政裁决等纠纷455件。

  4.民事案件结案数据

  法庭审结的13,263件民事二审实体案件中,以维持原审裁判方式结案5,311件,占40.0%;以撤诉方式结案3,548件,占26.8%;以调解方式结案1,449件,占10.9%;以发回重审方式结案119件,占0.9%;以改判方式结案2,775件,占20.9%;以其他方式结案61件,占0.5%。

  5.行政案件结案数据

  法庭审结的6,195件行政二审实体案件中,以维持原审裁判方式结案5,242件,占84.6%;以撤诉方式结案484件,占7.8%;以发回重审方式结案5件,占0.1%;以改判方式结案450件,占7.3%;以其他方式结案14件,占0.2%。

  (二)司法保护力度持续加大

  建庭以来,73案获得超1,000万元高额赔偿,赔偿总额合计达52.4亿元。其中,2025年30案(同比上升66.7%)适用惩罚性赔偿,赔偿总额合计达11.3亿元(同比上升29.4%),案均约3,800万元;32案获得超1,000万元高额赔偿,赔偿总额合计达25.4亿元,案均约8,000万元。

  “玻璃机”技术秘密侵权案对高端装备制造领域技术秘密侵权行为予以严惩,适用3倍惩罚性赔偿,判赔3.8亿余元。涉“金属保护网”专利侵权案中,针对侵权次数多、持续时间长且拒不承认制造侵权行为的侵权人,适用1倍惩罚性赔偿;涉“行李箱中间板”专利侵权案中,针对因侵权被判承担责任后变换行为主体、组织多主体继续实施基本相同侵权行为的侵权人,适用4倍惩罚性赔偿。

 

  三、中国专利侵权判定规则的精细化演进倒逼高质量撰写

  (一)我国专利法立法及四次修改历程

  1.1984年专利法诞生背景

  党的十一届三中全会后,“科学技术是第一生产力”的方针得以确立。为促进发明创造、引进外资与技术,我国开始着手建立专利制度。历时五年、先后易稿25次,专利法最终于1984年通过,并于1985年4月1日起正式施行。

  2.1992年第一次修改

  为落实改革开放政策、履行《中美关于保护知识产权的谅解备忘录》中的承诺,并与TRIPS协议接轨,本次修改延长了专利保护期(发明专利自15年延长至20年,实用新型专利自5年延长至10年),扩大了保护范围,将药品、化学品、食品、饮料纳入保护,同时强化了进口权及方法专利效力,即将进口行为纳入规制范围,制造方法专利的效力延及依照该方法直接获得的产品。

  3.2000年第二次修改

  为加入世界贸易组织并满足TRIPS协议的要求,本次修改增设了许诺销售权,并规定实用新型、外观设计专利的复审决定须接受司法审查。TRIPS协议是世界贸易组织框架下的重要协议,于1994年签署、1995年生效,其将知识产权保护与市场准入挂钩,已成为国际贸易领域的普遍实践。

  总体而言,前两次修改均以与国际接轨为主要导向,回应外部压力并满足相关要求。

  4.2008年第三次修改

  此次修改更多地立足于国内自身发展需要。随着我国经济社会快速发展,加强知识产权保护、提高自主创新能力,成为转变经济发展方式、实施创新驱动发展战略的内在要求。

  5.2020年第四次修改

  本次修改回应了实践中出现的新问题与新挑战:专利“大而不强、多而不优”,专利申请和权利行使过程中存在不诚信行为,专利质量总体有待提升;举证难、周期长、成本高、赔偿低、效果差;跨区域侵权、网络侵权现象增多,滥用专利权现象时有发生;专利技术转化率不高,专利许可供需信息不对称,转化服务不足。为此,修法进一步强化知识产权保护,引入侵权惩罚性赔偿,大幅提高侵权违法成本。

  (二)以案说法

  案例一:“周林频谱仪”案【2】(1995)——多余指定原则的提出

  1、基本案情

  权利要求包含特征b(立体声放音系统及音乐电流穴位刺激器置于整机体内),

  [说明书]

  为增加本发明装置的治疗功能,本装置中加入音乐治疗装置,使治疗者在接受频谱匹配治疗的同时接受音乐治疗,有助于恢复大脑神经系统机能,延缓脑衰老,消除紧张与疲惫感,改善精神和躯体状态,并对某些心身疾病具有疗效。如此一机多功能,既节省时间,又使患者在愉快、舒适的治疗环境中获得多种疾病治疗。

  原告主张,特征b“立体声放音系统及音乐电流穴位刺激器置于整机体内”对于实现专利产品的治疗功能并非必要技术特征,被告构成等同侵权。

  被告则认为,被控侵权产品不具备专利权利要求中的技术特征b,未落入专利权保护范围。

  法院认为:技术特征b虽然被写入独立权利要求,但结合专利说明书中的描述,就该专利整体技术方案的实质看,技术特征b却不产生实质性的必不可少的功能和作用,显系申请人理解上的错误及撰写申请文件缺乏经验所致,应视为附加技术特征。

  判决结果:判决驳回上诉,维持一审所作出的侵权判决。

  2、法条内容

  《最高人民法院关于审理专利纠纷案件适用法律问题的若干规定》(2001.6)

  第十七条专利法第五十六条第一款所称的“发明或者实用新型专利权的保护范围以其权利要求的内容为准,说明书及附图可以用于解释权利要求”,是指专利权的保护范围应当以权利要求书中明确记载的必要技术特征所确定的范围为准,也包括与该必要技术特征相等同的特征所确定的范围。

  等同特征是指与所记载的技术特征以基本相同的手段,实现基本相同的功能,达到基本相同的效果,并且本领域的普通技术人员无需经过创造性劳动就能够联想到的特征。

  3、规则启示

  早期规则较为宽松,允许法院在特定情形下“忽略”非必要特征,以弥补撰写层面的不足。

  案例二:“大连建材”案【3】(2005)——明确否认多余指定原则

  1、裁判要旨

  凡是专利权人写入独立权利要求的技术特征,均应视为必要技术特征,不得忽略,而须全部纳入技术特征对比之列。

  本院不赞成轻率借鉴适用所谓的“多余指定原则”。

  权利要求书的作用在于确定专利权的保护范围,即通过向公众表明构成发明或实用新型的技术方案所包含的全部技术特征,使公众能够清楚知晓何种行为构成专利侵权,从而一方面为专利权人提供有效合理的保护,另一方面确保公众享有使用技术的自由。

  只有对权利要求书所记载的全部技术特征给予全面、充分的尊重,社会公众才不至于因权利要求内容不可预见的变动而无所适从,从而保障法律权利的确定性,从根本上维护专利制度的正常运作与价值实现。

  2、法条内容

  2009年《最高人民法院关于审理侵犯专利权纠纷案件应用法律若干问题的解释》

  第7条“全面覆盖原则”

  人民法院判定被诉侵权技术方案是否落入专利权的保护范围,应当审查权利人主张的权利要求所记载的全部技术特征。

  被诉侵权技术方案包含与权利要求记载的全部技术特征相同或者等同的技术特征的,人民法院应当认定其落入专利权的保护范围;被诉侵权技术方案的技术特征与权利要求记载的全部技术特征相比,缺少权利要求记载的一个以上的技术特征,或者有一个以上技术特征不相同也不等同的,人民法院应当认定其没有落入专利权的保护范围。

  3、判决启示

  权利要求的核心作用得以强化,其公示功能与法律确定性受到更高程度的重视。一旦技术特征被写入独立权利要求,即被推定为对界定保护范围具有实质性意义。专利权人在撰写权利要求时,应尽到谨慎与精确的义务。法院不应随意将独立权利要求中的技术特征认定为“多余”而排除在侵权对比之外。

  案例三:“布塑热水袋加工方法”案【4】——捐献原则的适用

  1、基本案情

  在陈顺弟与浙江乐雪儿家居用品有限公司等侵害发明专利权纠纷案中,涉及“布塑热水袋的加工方法”。

  陈顺弟主张,涉案专利说明书已记载步骤10、11的顺序可以调换,权利要求1并未排除说明书记载的这一技术方案,因此调换步骤后的技术方案应当纳入涉案专利权的保护范围,本案不应适用捐献原则。

  根据《解释》第五条的规定,如果本领域技术人员通过阅读说明书可以理解,披露但未要求保护的技术方案系被专利权人作为权利要求中技术特征的另一种选择而特定化,则该技术方案视为捐献给社会。本案情形正属此类。涉案专利说明书在第3页明确记载第10、11步的步骤可以调换,而调换后的步骤并未在权利要求中体现,故该调换后的步骤不能纳入涉案专利权的保护范围。

  2、法条内容

  2009年12月公布的《最高人民法院关于审理侵犯专利权纠纷案件应用法律若干问题的解释》第五条规定:对于仅在说明书或者附图中描述而在权利要求中未记载的技术方案,权利人在侵犯专利权纠纷案件中将其纳入专利权保护范围的,人民法院不予支持。

  3、核心启示

  说明书公开不当然等同于权利保护。写入说明书但未写入权利要求的技术方案,等同于免费捐献给社会,后续维权时无法主张。该规则旨在防止“钓鱼式申请”,避免在说明书中大量记载技术方案而权利要求仅限定于小范围,待他人实施后再主张扩大保护。

  专利撰写过程中,权利要求书须将所有意图保护的技术方案清晰载明,不可依赖说明书进行“补漏”,该做法在法律上难以获得支持。

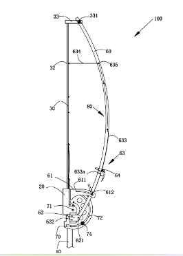
  案例四:“绿篱机”案【5】(2021)——可预见规则

  1、基本案情

  最高人民法院2021年7月审结的常州格瑞德园林机械有限公司、宁波昂霖智能装备有限公司侵害发明专利权纠纷案中,争议焦点在于:被诉侵权产品以燃油发动机作为动力源驱动,与专利权利要求限定的“一种电动绿篱机”是否构成等同技术特征。

  权利要求1如下:一种电动绿篱机,包括连杆、工作舱、电机和刀片,所述连杆一端设有所述工作舱,所述工作舱上设有所述刀片,所述电机设于所述连杆之上,所述电机带动所述刀片做往复移动,其特征在于,

  所述电动绿篱机还包括弧形支架和第一连接件,所述弧形支架一端与所述刀片的末端连接,另一端通过所述第一连接件连接在所述工作舱上,所述弧形支架的弯曲朝向所述刀片方向;

  当所述弧形支架绕着所述第一连接件转动时,所述弧形支架的转动使所述刀片产生弯曲变形。

  2、法院裁判

  根据说明书的记载,专利权人在撰写涉案专利权利要求书和说明书时,已明确知晓现有技术中存在电机驱动和燃油发动机驱动两种方式,且“环保无污染”是本专利相较于现有技术新增的技术效果,但专利权人在权利要求中仅强调电机驱动,即明确表示涉案专利的驱动方式仅限于电机驱动,而非燃油发动机驱动。从说明书的相关内容可以看出,专利申请人在撰写权利要求时,基于对环保效果的追求,并不寻求保护以燃油发动机作为动力源的绿篱机技术方案。换言之,本领域普通技术人员基于对权利要求所限定的“电动绿篱机”、说明书背景技术部分对电机驱动与燃油发动机驱动两种方式的介绍,以及发明目的部分关于“环保无污染”效果的强调等,完全能够理解为专利申请人明确不寻求保护以燃油发动机作为动力源的绿篱机技术方案。在此情形下,若在判断被诉侵权产品是否落入涉案专利权保护范围时,将燃油发动机驱动与电机驱动认定为等同技术特征,则不利于专利权利要求公示作用的发挥及社会公众信赖利益的保护。综上,原审法院关于被诉侵权产品与涉案专利驱动方式技术特征构成等同的认定不当,本院依法予以纠正。

  3、核心启示

  若专利权人在撰写专利申请文件时已明确知晓相关技术方案,但未将其纳入权利要求保护范围,则在侵权诉讼中不得再适用等同理论将该技术方案纳入保护范围。判断专利权人在专利申请时是否明确知晓并意图保护特定技术方案,可结合说明书及附图内容予以认定,并应将说明书及附图作为整体进行理解,判断标准为本领域普通技术人员阅读权利要求书与说明书及附图之后的理解。

  案例五【6】:“治具托盘”案

  1、基本案情

  该案的争议焦点在于,判断被诉侵权产品技术特征d“在治具托盘相对的两个边上活动安装有用于夹持PCB板边位的边位推拉装置”与涉案专利技术特征D“治具托盘的每个边上均活动安装有用于夹持PCB板边位的边位推拉装置”是否构成等同技术特征?

  本案中,涉案专利技术特征D“治具托盘的每个边上均活动安装有用于夹持PCB板边位的边位推拉装置”明确限定了在“每个边上”设置边位夹持装置……因涉案专利技术特征D特意强调了“每个边上”的限定作用,本领域普通技术人员在阅读权利要求书和说明书后可以理解,权利人在专利申请时存在排除被诉侵权产品技术特征d“在治具托盘相对的两个边上活动安装有用于夹持PCB板边位的边位推拉装置”的意思,故不应将该技术方案再以等同认定纳入专利权保护范围。

  裁判要旨:本领域普通技术人员在阅读权利要求书、说明书及附图后,是否认为专利权人或者专利申请人特意强调某一特征用语,并有意排除特定技术方案。如果对于本领域普通技术人员而言,专利权人或专利申请人在权利要求中特意强调并有意排除特定技术方案,则不宜再通过适用等同原则将其纳入专利权保护范围。

  2、法条内容

  《最高人民法院关于审理侵犯专利权纠纷案件应用法律若干问题的解释(三)》(征求意见稿)第十二条

  本领域普通技术人员通过阅读权利要求书、说明书等,可以确定权利要求有意排除特定技术方案,权利人主张该特定技术方案落入专利权保护范围的,人民法院不予支持。

  3、核心启示

  本案中,权利要求表述为“治具托盘的每个边上均活动安装有……边位推拉装置”。专利权人特意使用“每个边上”的表述,意在强调夹持装置分布于四边,但此种“特意强调”在法院看来,恰恰构成对“仅两个边上设置”技术方案的明确排除。最终,专利权人无法通过等同原则将被告“相对两个边上设置”的方案纳入保护范围。

  若意图保护“在多个边上设置”的方案,但又希望保留“仅在两个边上设置”的变形,可将表述调整为“在至少两个边上设有夹持装置”或“在多个边上设有夹持装置”,而非“每个边上”。若确需保护“四边均有设置”的具体方案,可将其写入从属权利要求,而独立权利要求保留更宽泛的表达。

 

  四、结语——用诉讼思维替代授权思维

  我国专利制度四十余年的发展历程,制度规则从粗放走向精细,这套日益精密的司法标尺,迫使企业不能再以“授权思维”草草应对,而必须用“诉讼思维”重新审视每一件专利申请;与之相伴,与之相伴,企业的专利管理也从“兼岗”转向“专精”。制度演进的每一步,都在为企业专利工作划定更高的及格线;而企业专业能力的持续进阶,又为制度的良性运行提供了坚实的微观基础。当司法规则与企业管理形成同频共振,专利才能真正走出“证书经济”的窠臼,回归排他权的法律本质。

  (一)中国专利侵权判定规则的精细化演进轨迹

  在独立权利要求的解读上,规则经历了从“多余指定”到“全面覆盖”的转变,独立权利要求中的每一项特征均须审慎对待。在说明书的作用方面,规则从“说明书补漏”演变为“捐献原则”,说明书公开但未写入权利要求的技术方案,等同于捐献于公众。在等同原则的适用上,规则从“等同万能”走向“可预见/有意排除”,等同原则的适用被严格限缩,申请时已知或特意排除的技术方案,不能再通过等同原则予以“补入”。

  随着“全面覆盖”“捐献原则”“可预见规则”等裁判规则的次第确立,专利权的边界被反复厘清——权利要求的每一个特征都可能成为侵权对比中的“必争之地”,说明书的每一处记载都可能演变为诉讼中的“自缚之茧”。这套日益精密的司法标尺,迫使企业不能再以“授权思维”草草应对,而必须用“诉讼思维”重新审视每一件专利申请。

  (二)专利撰写与布局的核心启示

  1.权利要求撰写要点

  撰写权利要求时,应持续自问:若作为竞争对手,将如何规避?每一项特征均为潜在的攻击点,是否必要?能否进行上位概括?说明书中的每一变形例,是否均已纳入权利要求(以防范捐献原则)?申请日已知的替代方案,是否已被覆盖(以防范可预见规则)?绝对化表述是否无意中排除了合理变形(以防范有意排除)?

  2.说明书撰写要点

  撰写说明书时,应持续自问:本说明书面向的是法官,而非仅发明人。说明书应为权利要求提供支撑与解释依据,而非单纯的技术成果记录。“多余”的表述若不加以保护,便成为竞争对手的“礼物”。

  3.建立诉讼思维

  在专利撰写阶段,即应预想法庭场景:预判竞争对手可能的攻击路径,思考法官可能作出的解读,提前准备应对策略,从而使专利真正成为有效的法律武器。

  展望未来,惩罚性赔偿的常态适用、无效与诉讼程序的深度协同、以及人工智能等新兴技术对专利撰写提出的新挑战,都预示着精细化只会向更深处延伸。对于企业而言,唯有将每一次撰写都视作一场“模拟诉讼”,让工程师的笔、法务的眼与商业的脑在申请日之前充分碰撞,才能在高标准保护时代真正构筑起经得起法庭检验、受得住市场博弈的竞争壁垒。

 

  注释:

  【1】数据来源:最高人民法院知识产权法庭年度报告 2025

  【2】(1995)高知终字第22号民事判决书

  【3】(2005)民三提字第1号民事判决书

  【4】(2013)民提字第225号民事判决书

  【5】(2021)最高法知民终192号民事判决书

  【6】(2020)最高法知民终1310号民事判决书

  

  

 

此篇文章由北京集佳知识产权代理有限公司版权所有,未经授权请勿转载     

 

相关关键词